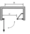
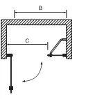
מקלחון קבוע ודלת שחור דאבל
– מפרט: מקלחון קבוע + דלת הנפתחת פנימה והחוצה
– גובה: 190 ס"מ
– פרזול: ציר חכם מתכת אל חלד עולה ויורד
– זוג מגנטים שחורים בדלתות – לאטימה מרבית
– מגב תחתון כפול בכל דלת לאטימה מרבית
– פרופיל: פרופיל כרום איכותי בגימור שחור מט.
– זכוכית: מחוסמת 6 מ״מ.
מותג : טופ באט
מחיר: ₪1,290
סל קניות
0
רוקן סל




